Привод ROGER R23/372 для распашных ворот
R23/372 привод рычажного типа для распашных ворот с шириной створки до 4 метров
Универсальное решение для распашных ворот, смонтированных на широких колоннах, когда установка линейных приводов невозможна или непрактична.
Особенности:
- В стандартной комплектации привод оснащен выключателями конечных положений, позволяющими с высокой точностью регулировать угол открывания ворот. При этом отпадает необходимость установки упоров для створок.
- В стандартной комплектации привод оснащен выключателями конечных положений, позволяющими с высокой точностью регулировать угол открывания ворот. При этом отпадает необходимость установки упоров для створок. Самоблокирующийся редуктор надежно запирает ворота без установки дополнительных замков. На случай отсутствия напряжения в электросети, для открывания ворот вручную, предусмотрена практичная рукоятка разблокировки, отпирающаяся персональным ключом. Дополнительно, привод может комплектоваться системой дистанционной разблокировки с тросом.
- Устойчивые к воздействию коррозии оцинкованные рычаги скреплены между собой и со створкой мощными болтами и высокоточными втулками. Это придает движению ворот дополнительную плавность, исключает скрипы, уменьшает трение и износ механизмов. Благодаря изогнутой форме одного из сегментов, отсутствуют зоны перехлеста рычагов, что обеспечивает защиту от защемлений.
- Длинный шарнирный рычаг R23 550 позволяет монтировать привод изнутри охраняемой территории, даже в том случае, когда створка ворот распахивается наружу. Такая установка не загромождает проем и не нарушает архитектурную эстетику ворот.
- Монтажная пластина из стали толщиной 5 мм обеспечивает жесткое крепление редуктора на поверхностях любого типа. Универсальная конструкция позволяет использовать одну модель привода для открывания правой и левой створок.
- Корпус редуктора выполнен по технологии точного литья под давлением. Все зубчатые колеса и червячный винт изготовлены из металлических материалов, первичная передача — из закаленной стали и бронзы. Валы установлены на шарикоподшипниковые опоры. Такие основательные решения дают отличные результаты: отсутствие шума, вибраций и высокую долговечность работы.
Состав комплекта:
- R23/372 привод рычажного типа - 1 шт.
Технические характеристики:
| Модель | R23/371; R23/372 |
|---|---|
| Класс защиты (IP): | 54 |
| Электропитание мотора (В/Гц): | ~220/50 |
| Номинальная мощность (Вт): | 200 |
| Ток (А): | 1.1 |
| Интенсивность использования (%): | 50 |
| Термопредохранитель мотора (°С): | 140 |
| Крутящий момент (Нм): | 400 |
| Время открываения на угол 90° (с): | 14 |
| Масса привода (кг): | 15,5 |
| Диапозон рабочих температур (°С): | -25 ÷ +70 |
Дополнительно:
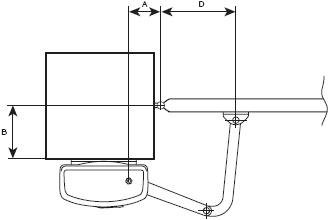
Габаритные размеры:

Выбор шарнирного рычага:

| Модель | А макс. (мм.) | В макс. (мм.) | D макс. (мм.) |
|---|---|---|---|
| LT302 | 150 | 300 | 450 |
| LT303 | 400 | 450 | 750 |
Сопутствующие товары
Автоматика
Радиоуправление
Аксессуары



